中國經濟網北京12月10日訊(記者朱國旺 楊奇奇)12月8日,國家藥監局發布了對深圳綿儷日用化工有限公司飛行檢查通報顯示,該企業存在質量管理、廠房設施等四方面不符合《化妝品生產許可檢查要點》的有關規定。據國產非特殊用途化妝品備案平臺顯示,該公司為屈臣氏、歐薇蔻、樂研、護加宜等化妝品品牌的生產企業。


飛行檢查報告顯示,檢查發現深圳綿儷日用化工有限公司在質量管理方面存在質量負責人履職能力不足等問題,在質量管理方面存在無檢驗記錄、文件管理制度執行不到位等問題,在廠房設施方面存在功能間設置不合理、未按要求制定車間環境監測計劃等問題,在設備方面存在設備校驗不規范、設備未標識清潔狀態等問題,在物料與產品方面存在未按規定要求存放原料、物料存放不規范等問題。

針對檢查中發現的問題,國家藥監局要求廣東省藥品監督管理局應責令深圳綿儷日用化工有限公司限期整改,并將相關情況在2個月內報送國家藥品監督管理局化妝品監管司。
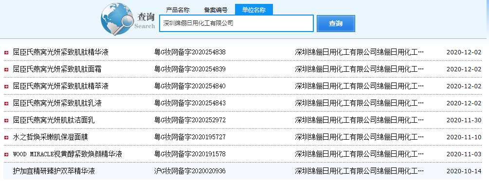
記者通過國產非特殊用途化妝品備案平臺查詢得知,深圳綿儷日用化工有限公司是屈臣氏燕窩光妍緊致肌肽精華液、歐薇蔻肌肽水光晶致面膜、護加宜精研臻護雙萃精華液等800多款產品的生產企業。